تاريخ الفيزياء
علماء الفيزياء
الفيزياء الكلاسيكية
الميكانيك
الديناميكا الحرارية
الكهربائية والمغناطيسية
الكهربائية
المغناطيسية
الكهرومغناطيسية
علم البصريات
تاريخ علم البصريات
الضوء
مواضيع عامة في علم البصريات
الصوت
الفيزياء الحديثة
النظرية النسبية
النظرية النسبية الخاصة
النظرية النسبية العامة
مواضيع عامة في النظرية النسبية
ميكانيكا الكم
الفيزياء الذرية
الفيزياء الجزيئية
الفيزياء النووية
مواضيع عامة في الفيزياء النووية
النشاط الاشعاعي
فيزياء الحالة الصلبة
الموصلات
أشباه الموصلات
العوازل
مواضيع عامة في الفيزياء الصلبة
فيزياء الجوامد
الليزر
أنواع الليزر
بعض تطبيقات الليزر
مواضيع عامة في الليزر
علم الفلك
تاريخ وعلماء علم الفلك
الثقوب السوداء
المجموعة الشمسية
الشمس
كوكب عطارد
كوكب الزهرة
كوكب الأرض
كوكب المريخ
كوكب المشتري
كوكب زحل
كوكب أورانوس
كوكب نبتون
كوكب بلوتو
القمر
كواكب ومواضيع اخرى
مواضيع عامة في علم الفلك
النجوم
البلازما
الألكترونيات
خواص المادة
الطاقة البديلة
الطاقة الشمسية
مواضيع عامة في الطاقة البديلة
المد والجزر
فيزياء الجسيمات
الفيزياء والعلوم الأخرى
الفيزياء الكيميائية
الفيزياء الرياضية
الفيزياء الحيوية
الفيزياء العامة
مواضيع عامة في الفيزياء
تجارب فيزيائية
مصطلحات وتعاريف فيزيائية
وحدات القياس الفيزيائية
طرائف الفيزياء
مواضيع اخرى
Portable positional instruments: The sextant
المؤلف:
A. Roy, D. Clarke
المصدر:
Astronomy - Principles and Practice 4th ed
الجزء والصفحة:
p 346
29-8-2020
2089
Portable positional instruments: The sextant
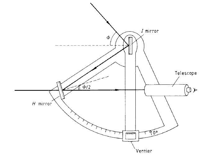
The sextant is primarily an instrument designed for navigation at sea. When it is used in its simplest way, it allows measurements of the altitudes of celestial objects to be made. From altitude measurements of objects at known times, the geographic position of the observer can be determined. The sextant is sufficiently light and compact so that it can be held by hand. The essential features of the instrument are illustrated in figure2.
Two mirrors are mounted on to a frame which is provided with a handle so that it can be held by the observer. The first mirror, known as the index mirror, I , is fixed to a lever which is pivoted through an axis passing through the mirror’s silvered surface. At the opposite end of the lever arm a vernier is attached so that the angle of the index mirror can be read off the graduated arc forming the lower part of the sextant frame. The second mirror, known as the horizon mirror, H, is set at a
Figure 1. A satellite-tracking kinetheodolite of the Royal Observatory, Edinburgh. (By courtesy of the Royal Astronomical Society.)
Figure 2. The sextant.
fixed position on the frame. It is divided into halves. The top half is transparent while the bottom half is silvered. When the field is viewed by the telescope, the split horizon mirror allows the horizon to
be viewed simultaneously with the field which can be seen via the two reflections given by I and the lower half of H.
To permit solar observations, filters of various density are available to cover both the I and H mirrors.
It is obvious that when the mirror faces of I and H are parallel, I and the transparent half of H provide identical views of the horizon. By adjusting the lever which carries I , the two images can be made to overlap, thus allowing the fiducial point or index point to be determined on the graduated scale.
When the altitude of a celestial object is being determined, the lever carrying I is adjusted until the object is made to ‘appear’ on the horizon. Since a reflection by a mirror alters the direction of travel of a beam of light by twice the angle of incidence, an angle read off the graduated scale corresponds to twice the apparent altitude of the object. This is allowed for in the graduation of the scale, each 10◦ of rotation being registered as 5◦. Before an accurate figure of the true altitude is available, corrections need to be made for any error in the index position, for the observer’s height above the horizon and for atmospheric refraction. The uncertainty in any one determination is likely to lie in the range between 5 and 10 seconds of arc.
الاكثر قراءة في مواضيع عامة في علم الفلك
اخر الاخبار
اخبار العتبة العباسية المقدسة

الآخبار الصحية
